Description
The ABUS 82 Monoblock shutter padlocks have a solid brass body
A through hardened steel alloy shackle which rotates when attacked.
5 Pin precision cylinder with anti-pick mushroom pins and rustfree components.
A hardened steel pin protects the narrow side of the lock against sawing.
Can be locked without the key by pushing in the bolt.
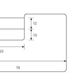
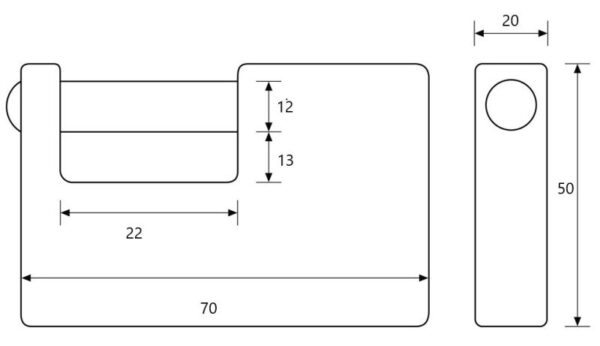
Overall width: 70 mm x height: 50 mm x depth: 18 mm.
Finish: Brass.




